Rivetsonline logo
Click image to enlarge

Gesipa Bulb-tite Blind Rivets

When installed, the body of a Gesipa Bulb-Tite blind rivets folds into three separate legs, forming a large bearing surface on the blindside. This bearing head evenly distributes the Bulb-Tite rivet’s high clamp force in soft, thin, or brittle materials, while providing high pull-through resistance. With a wide grip range, a single Bulbtite rivet can be used across a greater variation of material thicknesses.
 
Select Bulb-Tite rivets feature a special flush-break mandrel* that effectively seals the rivet bore and adds greater shear strength.

How Bulbtite Rivets Work

 
During installation, the rivet body folds into three separate legs, forming a blind-side upset head. The Bulb-tite rivet mandrel breaks off flush with the rivet head. *Bulbtite rivets with flush break mandrels require the use of a special installation tool nose tip.

Order Bulb-Tite Rivets Today

 
Jay-Cee Sales & Rivet offers a full line of Gesipa Bulb-Tite blind rivets, with a variety of lengths, grip ranges, diameters, and head styles available. Follow the links below to find Bulbtite rivets you need, or use the filters at left to narrow your search. Order Bulbtite rivets for your application, request a quote, or contact us for more information.

Gesipa Bulb-Tite Blind Rivets Handle Your Attaching Problems with Ease and at Low Costs

 
RV6601
Countersunk Head (82ƒ)
RV6602
Low Profile Flat Head

ch

RV6601

lpfh
RV6602
RV6603 & RV6604
Dome Head (Protruding Crown)
RV6605
Large Flange Head (Protruding Crown)
dhpc
RV6603
lfh
RV6605
RV6606, REV6676, & RV6696
Dome Head (Recessed Crown)
RV6607
Shaveable Brazier Head
dhrc
RV6606
sbh
RV6607

 

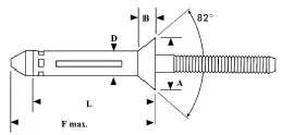
Bult-tite Part Numbers

Part Numbers

A - Body Diameter
B - Head Height
D - Head Diameter
F - Blind Side Protrusion
L - Rivet Body Length

 ** Parts ending in "W" include a rubber washer for added weather resistance.

Technical Data

  
Category Files
Click to Filter Your Results

Features & Benefits of Gesipa Bulb-Tite Blind Rivets

 

Weather Tight

A special nose tip on the rivet installation tool crimps a crown feature on the rivet head. This crown-crimp effectively seals the rivet bore off from dirt and moisture intrusion. Adding an optional rubber washer to the Bulbtite rivet creates an additional seal around the perimeter of the rivet head to stop moisture from intruding beneath the rivet head. 
 

High Strength Rivets

Another benefit of Bulb-Tite rivets’ retained mandrel core is the added strength it provides. Bulb-Tite rivets are less prone to failure in high shear loads. 
 

High Clamping Strength

The large, three-legged upset head evenly distributes Bulb-Tite rivets’ high clamp load over a broader bearing surface than do conventional blind rivets. This enables soft, thin, ductile, and even brittle materials to be securely clamped without deformation, cracking, or other damage.
 

Choice of Finished Appearance

Bulbtite rivets are available in a variety of head styles, including standard dome, low profile, large flange, and countersunk. Color matched plastic finish caps can be snapped onto select Bulb-Tite rivet head styles to conceal installed rivet heads. The unique shaveable head Bulbtite was specifically designed for use in heavy truck and trailer applications where solid rivets are used. They are ideal for the repair of solid riveted assemblies where access to the blind side may no longer be available. The shaveable Bulb-Tite rivet head is finished using a special head-shaving tool; shaved Bulb-Tite rivet heads then match the appearance of solid rivets in the assembly.
 

Material Choices

Standard Gesipa Bulb-Tite blind rivets are made of aluminum alloy, providing a durable non-rusting fastener that can withstand weather-related corrosion. Select sizes of Bulb-Tite rivet are also available in steel and Monel materials where higher strength is required.
 

Options for Bulbtite Rivets

 

Length

  • Minimum: 0.71
  • Maximum: 1.27
 

Materials

  • All steel
  • All aluminum
 

Grip Range

  • Minimum: 0.040-0.250
  • Maximum: 0.563-0.750
 

Body Diameter

  • 5/32”
  • 3/16”
  • 1/4”
 

Head Style

  • Dome head protruding crown
  • Dome head recessed crown
  • Low profile flat head
  • Low profile recessed crown
  • Shaveable series brazier head
  • 82° countersunk head
 

Contact Us for Bulb-Tite Rivets & More

Jay-Cee Sales & Rivet is the only source you need for Gesipa Bulb-Tite blind rivets and other top quality fastener solutions. We sell solid rivets, drive rivets, split rivets, and much more. Order today, request a quote, or contact us for Bulbtite rivets for your application.

Catch up on the latest news, events, and products for Jay-Cee Sales & Rivet Inc.